Product Summary
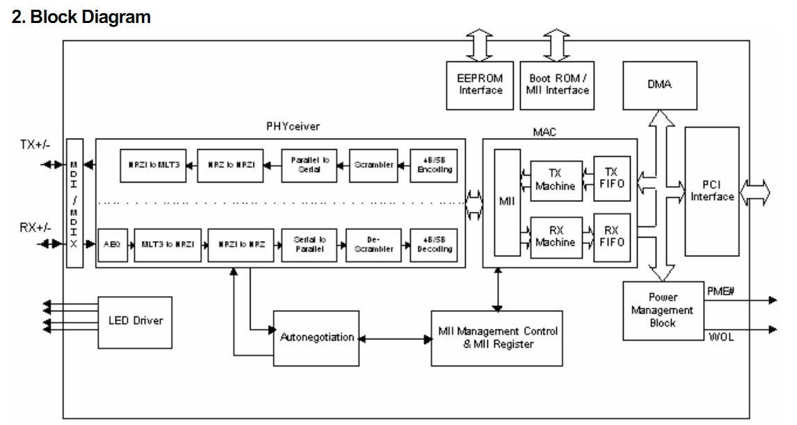
The DM9102DEP is a fully integrated and cost effective single chip Fast Ethernet NIC controller. It is designed with low power and high performance process. The DM9102DEP is a 2.5/3.3V device with 5V tolerance. The DM9102DEP provides direct interface to the PCI bus and supports bus master mode to achieve the high performance of the PCI bus. In the media side, the DM9102DEP interfaces to the UTP3, 4, 5 in 10Base-T and the UTP5 in 100Base-TX. It is fully compliant with the IEEE 802.3u Spec. The auto-negotiation and HP Auto-MDIX function can automatically configure the DM9102DEP to take the maximum advantage of its abilities.
Parametrics
DM9102DEP absolute maximum ratings: (1)DVDD, AVDD Supply Voltage: -0.3 to 3.6 V; (2)DVDD25,AVDD25 Supply Voltage: -0.3 to 2.7 V; (3)VIN DC Input Voltage (VIN): -0.5 to 5.5 V; (4)VOUT DC Output Voltage (VOUT): -0.3 to 3.6 V; (5)Tc Case Temperature Range: 0 to 85℃; (6)Tstg Storage Temperature Rang (Tstg): -65 to 150℃; (7)LT Lead Temp. (TL, Soldering, 10 sec.): 235℃; (8)LT Lead Temp. (TL, Soldering, 10 sec.): 260℃.
Features
DM9102DEP features: (1)Integrated Fast Ethernet MAC, Physical Layer and transceiver in one chip; (2)128 pin LQFP with CMOS process; (3)+2.5/3.3V Power supply with +5V tolerant I/O; (4)Comply with PCI specification 2.2; (5)PCI bus master architecture; (6)PCI bus burst mode data transfer; (7)Two large independent transmission and receipt FIFO; (8)Up to 256K bytes Boot EPROM or Flash interface; (9)EEPROM 93C46 interface automatically supports node ID load and configuration information; (10)Comply with IEEE 802.3u 100Base-TX and 802.3 10Base-T; (11)Comply with IEEE 802.3u auto-negotiation protocol for automatic link type selection; (12)Support IEEE 802.3x Full Duplex Flow Control; (13)VLAN frame length support; (14)IP/TCP/UDP checksum generation and checking; (15)Zero copy supporting; (16)Comply with ACPI and PCI Bus Power Management.
Diagrams

![]() |
![]() DM9102A |
![]() Other |
![]() |
![]() Data Sheet |
![]() Negotiable |
|
||||
![]() |
![]() DM9102D |
![]() Other |
![]() |
![]() Data Sheet |
![]() Negotiable |
|
||||
![]() |
![]() DM9161 |
![]() Other |
![]() |
![]() Data Sheet |
![]() Negotiable |
|
||||
![]() |
![]() DM9161A |
![]() Other |
![]() |
![]() Data Sheet |
![]() Negotiable |
|
||||
(Hong Kong)








